Homelite Trimmer Carburetor Diagram

Elisa Resume Ideas Gallery

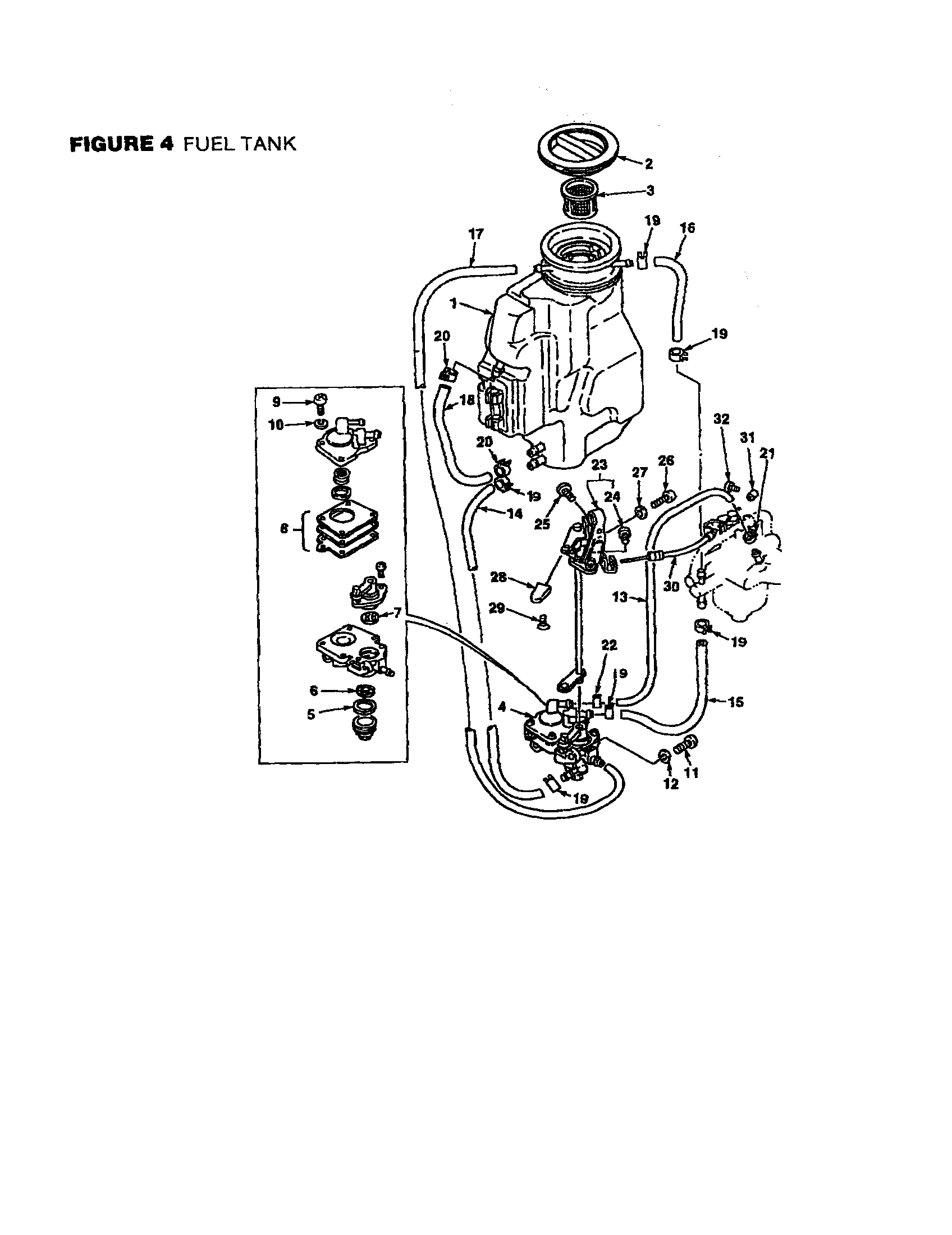
Homelite Trimmer Carburetor Diagram. Properly cared for, it will give you years of rugged, trouble-free performance. The carb is on page O of the parts diagram below.

Homelite SX135 String Trimmer UT-20601 Parts Diagram for ...
Homelite SX135 String Trimmer UT-20601 Parts Diagram for ... (Lucas Carroll)
Disconnect the fuel line from the carburetor with the needle nose pliers. User manuals, Homelite Trimmer Operating guides and Service manuals. Homelite + Line trimmer parts > Homelite line trimmer parts + Gas line The diagram(s) below can help you find the right part.

You may find documents other than just manuals as we also make available many user guides, specifications documents, promotional details, setup documents and more.

Do not touch area around the silencer or cylinder of the trimmer: these parts get hot from operation.

Carburetor F Homelite Ryobi 308054013 308054028 308054043 ...

Homelite 240 Chain Saw UT-10628 Parts Diagram for Walbro ...

Homelite GSTBC String Trimmer UT-15084-C Parts Diagram for ...

CARBURETOR REPAIR KIT PRIMER BULBS ASSY FOR RYOBI HOMELITE ...

HOMELITE GAS LINE TRIMMER/WEEDWACKER Parts | Model ut20811 ...

Looking for Homelite model UT10045 gas chainsaw repair ...

Homelite model UT-04005 generator genuine parts

Homelite 51970A Straight Shaft String Trimmer S/N ...

Homelite 1900EM Parts Diagram for Carburetor Assembly

Hello mowing, The carburetor on your machine is obsolete. You are here: Home > All Brands > Homelite > Homelite String Trimmers. Search String Trimmers - Homelite Homelite Trimmers deliver both.